Система стабилизации частоты вращения коленчатого вала при холостом ходе - некоторые модели
Когда на двигатель ложится повышенная электрическая нагрузка (например, при включении фар головного света или обогревателя заднего стекла), частота вращения коленчатого вала при работе двигателя в режиме холостого хода обычно уменьшается, так как генератор, получающий привод от двигателя, оказывает большее сопротивление, и двигатель может заглохнуть. То же самое относится к моделям автомобилей оснащенных гидроусилителем руля (когда Вы поворачиваете рулевое колесо, насос гидроусилителя приходит в действие) потому, что насос гидроусилителя имеет ременной привод от двигателя.
Для того, чтобы этого не случилось, скорость холостого хода обычно устанавливается немного выше, чем требуется. Если использовать систему стабилизации скорости холостого хода при повышении нагрузки на двигатель, скорость холостого хода можно сохранить на низком уровне. В автомобилях Nissan установлена система, использующая закрепленный на карбюраторе электромагнитный клапан, предназначенный для подачи низкого давления на вакуумный механизм. Управление электромагнитным клапаном осуществляется при помощи электронного блока управления. При включении одного или нескольких указанных ниже элементов электрооборудования система стабилизации увеличивает скорость холостого хода на величину от 50 до 250 об/мин.
- Фары головного света или подфарники
- Вентилятор печки.
- Вентилятор охлаждения радиатора.
- Обогреватель заднего стекла (если установлен).
- Гидроусилитель рулевого колеса (особенно, когда Вы поворачиваете руль до упора).
При включении какого-либо из этих элементов электрооборудования электронный блок управления посылает сигнал на электромагнитный клапан - клапан открывается, разрежение подается на вакуумный механизм и скорость холостого хода увеличивается. Когда электрическая нагрузка пропадает, сигнал прекращается, и электромагнитный клапан закрывает вакуумный канал. Скорость холостого хода возвращается к нормальной величине.
Сигнал от гидроусилителя руля поступает на электронный блок управления через переключатель давления жидкости гидроусилителя (когда Вы поворачиваете рулевое колесо, давление жидкости гидроусилителя возрастает, и переключатель размыкается).
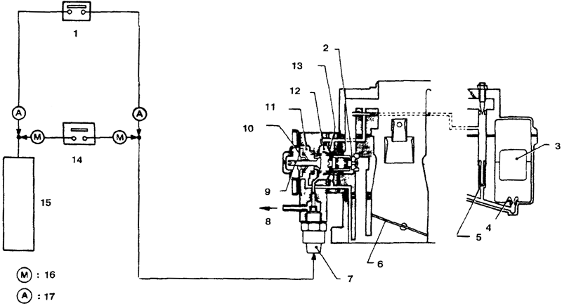
Устройство контроля торможения – некоторые модели
![]() Устройство контроля торможения
|
Возникающее во время торможения низкое давление в вакуумной системе карбюратора может привести к тому, что топливо будет не полностью сгорать в двигателе. С точки зрения содержания СО в выхлопных газах, такое явление абсолютно нежелательно. Устройство контроля торможения представляет собой управляемую диафрагму, которая впускает дополнительное количество воздуха и топлива в смесительную камеру карбюратора. Таким образом, достигается лучшее сгорание топливной смеси и снижается содержание углеводорода в выхлопных газах.
Во время торможения управляющий соленоид приводится в действие сигналом, идущим от спидометра. При падении давления в вакуумной системе ниже нормальной величины, приходит в действие диафрагма, закрепленная на кожухе карбюратора, в стык с верхним воздухозаборником. Эта диафрагма открывает перепускной клапан и таким образом соединяет верхний воздухозаборник с выпускным отверстием, находящимся под дроссельной заслонкой вторичной камеры. Воздух поступает через перепускную систему в область низкого давления под дроссельной заслонкой. Топливо и небольшое количество воздуха поступают в перепускную систему через топливный жиклер (от главного топливного жиклера вторичной камеры) и вентиляционное отверстие соответственно. Образующаяся смесь выбрасывается под дроссельной заслонкой вторичной камеры во время торможения.
Устройство контроля торможения приходит в действие при скорости, превышающей 11 км/час, когда давление воздуха в коллекторе превышает 575 мм ртутного столба.

